Has entrado como invitado. ( Entra | regístrate )
|
FotograffÃa 7.JPG (143KB - 273 descargas)
FotograffÃa 8.JPG (148KB - 237 descargas)
FotograffÃa 9.JPG (212KB - 244 descargas)
meccanismo_angelo.JPG (34KB - 308 descargas)
Dibujo.JPG (8KB - 269 descargas)
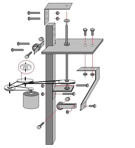
Inversor Temporizado1.JPG (22KB - 259 descargas)
hola de nuevo
aqui os pong un artilujio que hice hace cuatro o cinco años consiste an montar un lector de cd viejo como vereis en la bandeja puse un tornillito para amarrar el sedal luego hice una especie de cajon donde se escondia el angel el cajon el cajon lo disimule pegando algodon que simulaba una nuve
como el lector cuando pulsa unavez abre la bandeja y cuando pulsas otrvez se sierra asi que solo tenia que poner el artilugio camuflado y dejar solo la nuve visible
esto ya lo puse hace algun tiempo
os pongo unas fotos para que veais el artilugio
saludos
curro
Angel Arriba.JPG (241KB - 285 descargas)
Anguel Bajado.JPG (256KB - 259 descargas)
Cd Abierto Aguel fuera.JPG (232KB - 253 descargas)
CD serrado Anguel Dentro.JPG (241KB - 247 descargas)
Vista Lateral.JPG (248KB - 251 descargas)| Páginas: 1 2 3 |
| Buscar en este foro Versión Impresa Enviar un mail con el enlace a este tema |





