Noticias|Artículos|Figuras|Enlaces|belenismo.net
Foro de Belenismo

¿Quieres anunciarte aquí? - contacta con nosotros
Has entrado como invitado. ( Entra | regístrate )
  Entra con Google

Paso a Paso -> Paso a paso
Mesa de corte de poliextereno

Páginas: 1
184
onda "castellon"

MATERIALES

Material / Unidades (ud.) / Dónde comprar


•Contrachapado (ocumen) 48x38 cm 1 ud Leroy Merlín
•Contrachapado 40x30 cm 1 ud Leroy Merlín
•Contrachapado 30x15 cm 2 ud Leroy Merlín
•Contrachapado de 40x15 cm 2 ud Leroy Merlín
•Listón de madera 42x2x2 cm 1 ud Leroy Merlín
•Listón de madera 35x2x2 cm 1 ud Leroy Merlín
•Listón de madera 20x2x2 cm 1 ud Leroy Merlín
•Listón de madera de 50x2x2 cm 1 ud Leroy Merlín
•Taco madera de 1x1,5x1,5 cm 1 ud Leroy Merlín
•Ángulos escuadras 10 ud Leroy Merlín
•Pletinas 2 ud Leroy Merlín
•Escarpias 20 ud Leroy Merlín
•Cadenita ( 1 m) 1 ud Leroy Merlín
•Muelle tensor 2 ud Ferretería
•Tornillos con mariposa 3 ud Leroy Merlín
•Tornillos con arandela y tuerca 40 ud Leroy Merlín
•Tornillos de rosca-chapa 15 ud Leroy Merlín
•Sargentas 2 ud Leroy Merlín
•Puntas finitas 2 o 3 cm 4 ud Leroy Merlín
•Tornillo y tuerca fino 2 o 3 cm 1 ud Leroy Merlín
•Hilo de Nicrom 50 cm Tiendas Esp. en Resist. o Serv. Téc.
•Cable eléctrico 4m 1 ud Tiendas electricidad
•Pinzas de cocodrilo 2 ud Tiendas electricidad
•Transform. 220v-12v alterna 33 ohm 1 ud Tiendas electricidad
•Regulador de Intensidad 1 ud Tiendas electricidad
•Enchufe 1 ud Tiendas electricidad


HERRAMIENTAS


•Martillo
•Destornilladores
•Llave Inglesa
•Cinta aislante
•Cola de Carpintero
•Taladro y brocas
•Barniz y Brocha
•Rotulador Permanente
•Regla y escuadra
•Sierra de Madera

PROCEDIMIENTO
Primero vamos a construir la caja que contendrá el circuito eléctrico, después realizaremos el arco y por último el circuito eléctrico.

1. LA CAJA
En el panel de contrachapado de 48x38 cortaremos un rectángulo de 20x2cm, perpendicular al lado ancho hasta el centro.(foto 1)

En uno de los paneles de 40x15 (panel frontal) hay que hacer un hueco donde encajaremos el regulador de intensidad.(foto 2) 

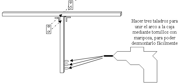
En el otro panel de 40x15 (panel trasero) hay que hacer 5 taladros: 1 en un lateral (a) por donde saldrá el enchufe que irá a la red. Tres ( b, c, d) en el centro donde uniremos la caja al arco mediante tornillos con mariposa para poder desmontar el arco. Y otro € al lado de estos tres por donde saldrá el cable que dará corriente al arco en la parte superior. (foto 3)

Ahora uniremos la chapa inferior 40x30 las dos laterales y la frontal y trasera mediante los ángulos que atornillaremos con arandela y tuerca y encolamos todos los bordes para mayor seguridad (foto 4)

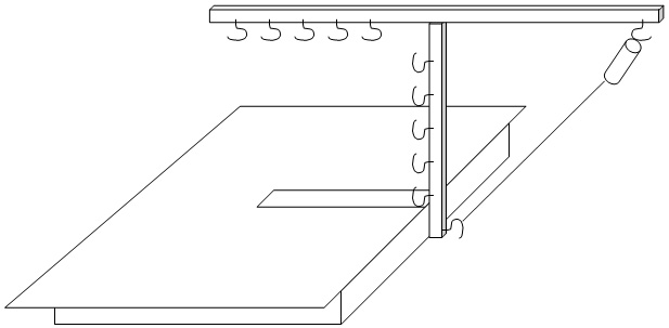
En la chapa inferior atornillamos o encolamos el listón de 20x2x2 y a éste 5 escarpias que nos servirán para enganchar el hilo de Nicrom en diferentes posiciones. (foto 5)

Ahora atornillaremos las bisagras a la chapa superior y a la chapa trasera (foto 6)

2. EL ARCO
Para la construcción del arco necesitamos dos listones, el de 42x2x2 (que estará situado en la parte superior en horizontal) y el de 35x2x2 (que será el vertical).
Debemos unir el listón pequeño al grande justo en el centro del grande. Lo haremos con dos ángulos escuadra y dos pletinas y atornillaremos con tornillos de rosca-chapa (foto 7)

Ahora pondremos 5 escarpias en el listón horizontal y 5 en el vertical para poder enganchar el hilo de nicrom. Cuidar que las escarpias del horizontal estén a la misma medida que en el listón que hay debajo dentro de la caja. Las escarpias del vertical las utilizaremos para poder hacer cortes diagonales.(foto 8) 

Le pondremos otras dos escarpias, una debajo de los taladros para tornillos con mariposa y otra en el listón horizontal en el otro extremo. Estas las usaremos para unirlas con una cadena y un tensor.
Ya sólo nos queda unir el arco a la caja mediante los tornillos con tuercas de mariposa.(foto 9) 

3. EL CIRCUITO
El circuito es bastante simple: un regulador de intensidad (de esos para controlar la luz de un halógeno por ejemplo. Los venden en cualquier tienda de electricidad por 1 o 2€), un transformador de 220v-12v, cable, 2 pinzas de cocodrilo y un enchufe.(foto 10) 

El regulador debe estar conectado en serie entre el enchufe y el transformador. Yo utilicé un transformador de esos grandes antiguos, pero supongo que con otro tipo al de los cargadores de móviles servirá (no utilizar uno de menos de 12 v si la longitud del hilo de Nicrom es de más de 20 cm porque no será suficiente). En las salidas de 12v del transformador enchufamos dos cables unidos a dos pinzas de cocodrilo y estas las “pinzaremos al hilo de Nicrom que tendremos puesto en la mesa de corte.(foto 11)






Modificado por stangana 14/11/2009 15:31

(mesacorte1.jpg)

(mesacorte2.jpg)

(mesacorte3.jpg)

(mesacorte4.jpg)

(mesacorte5.jpg)

(mesacorte6.jpg)

(mesacorte7.jpg)

(mesacorte8.jpg)

(mesacorte9.jpg)

(mesacorte10.jpg)

(mesacorte11.jpg)
Adjuntos
----------------
Adjuntos mesacorte1.jpg (31KB - 313 descargas)
Adjuntos mesacorte2.jpg (24KB - 222 descargas)
Adjuntos mesacorte3.jpg (26KB - 247 descargas)
Adjuntos mesacorte4.jpg (23KB - 228 descargas)
Adjuntos mesacorte5.jpg (28KB - 270 descargas)
Adjuntos mesacorte6.jpg (29KB - 229 descargas)
Adjuntos mesacorte7.jpg (40KB - 274 descargas)
Adjuntos mesacorte8.jpg (22KB - 226 descargas)
Adjuntos mesacorte9.jpg (35KB - 281 descargas)
Adjuntos mesacorte10.jpg (51KB - 295 descargas)
Adjuntos mesacorte11.jpg (75KB - 343 descargas)
Parte superior de la página Parte inferior de la página
Pamplona - Iruña

Hola

Muy bien explicado .....los dibujos me suenan mucho ó parecidos .

                 Saludos

Parte superior de la página Parte inferior de la página
2
Jerez de la Frontera
La próxima vez no estaría de mas que citaras la fuente:

http://www.laguerradelanillo.com/content/view/82/45/



Con razón te sonaba galtxa

Modificado por Arco de Santiago 15/11/2009 15:30
Parte superior de la página Parte inferior de la página
210
bcn
stupendo stangana gracias por compartir
Parte superior de la página Parte inferior de la página
184
onda "castellon"
Solo quiero dejar claro que esto no lo e realizado yo solo,me parecio interesante y lo colge aqui para la gente que pueda estar interesada.
Parte superior de la página Parte inferior de la página
Pamplona - Iruña

[



Modificado por galtxa 15/11/2009 22:15
Parte superior de la página Parte inferior de la página
Pamplona - Iruña

stangana - 15/11/2009 19:47 Solo quiero dejar claro que esto no lo e realizado yo solo,me parecio interesante y lo colge aqui para la gente que pueda estar interesada.

Hola

Estas  perdonado ,no te lo quise decir nada en el primer post ,pues hombre se puso hace mucho tiempo en el foro ,pero cuando se copia literalmente una cosa no cuesta nada poner el enlace de la pagina ,para evitar situaciones como esta .

Lo has echo con buena fe ,que es lo que cuenta ,todo lo que sea para compartir en el foro bienvenido sea .

                                                               Saludos

Parte superior de la página Parte inferior de la página
184
onda "castellon"
Hola estoy construyendome una mesa de corte pero me sale una duda en la foto numero ocho,para que es exactamente lo de la cadena y el muelle tensor?
Donde puedo comprar hilo de nicrom? Alguien puede ayudarme y despejarme esas dudas,gracias de antemano.
Parte superior de la página Parte inferior de la página
675
Sant Boi - Barcelona
Si tienes en casa algún calefactor viejo, secador a punto del retiro o tostadora, puedes obtener el hilo desmontándolos. Si no, en la web de FMAS lo venden a buen precio, y te lo llevan a casa

Saludos
Parte superior de la página Parte inferior de la página
106
Ontigola (toledo)
y si no en un punto limpio o una tienda de repuestos
Parte superior de la página Parte inferior de la página
81
Preixana (LLeida)
Pero tened cuidado con el trtansformador y el potenciómetro, que no todos los transformadores se pueden regular antes, después del transformador si, pero si lo haceis antes si el transformador no lo admite podeis quemarlo, os lo digo por propia experiencia y por haber preguntado después....
Parte superior de la página Parte inferior de la página
Páginas: 1
Saltar al foro :
Buscar en este foro
Versión Impresa
Enviar un mail con el enlace a este tema

(Borrar todas las cookies grabadas por este sitio)
Ejecutándose MegaBBS ASP Forum Software
© 2002-2026 PD9 Software